申请号:CN202110875821.X
专利名称:螺纹连接式光纤气溶胶浓度测量探头及浓度测量装置
发明人:张和平; 马伟通; 陆松
专利类型:发明专利
摘要:
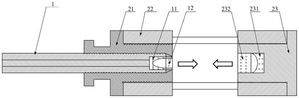
本发明公开了一种螺纹连接式光纤气溶胶浓度测量探头及浓度测量装置,测量探头包括:套管,套管的第一端设置第一凹槽,第一凹槽内沿远离套管第二端的方向依次设置有抛物面型聚光镜和第一滤光镜片;探头本体包括中间测量件和后端测量件,中间测量件开设有沿其长度方向的贯通孔且所述中间测量件的侧壁开设有镂空孔,后端测量件的第一端开设有第二凹槽,第二凹槽内沿远离后端测量件第二端的方向依次设置有凹面反射镜和第二滤光镜片,所述后端测量件与所述贯通孔的内壁螺纹配合;套管与所述贯通孔的内壁螺纹配合,或者,中间测量件的第二端的内部固定连接有前端测量件,套管的第一端能够伸入前端测量件并与其螺纹配合。该测量探头可改变测量探头的光程,通用性更强。
