申请号:CN201910246176.8
专利名称:大型客运车辆内的火灾探测灭火一体化系统发明人:陈潇; 顾加; 余潇阳; 陆守香; 李东风
专利类型:发明专利
摘要:
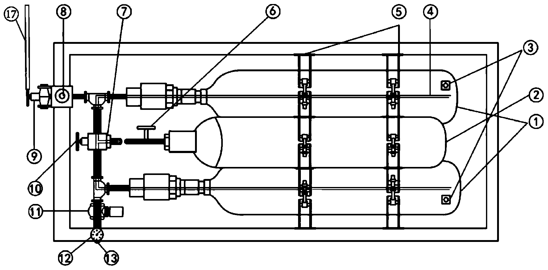
本发明公开了一种大型客运车辆内的火灾探测灭火一体化系统,该系统设置在在大型客运车辆车厢内,包括一体化控制箱、电路电线、电启动控制终端、火焰探测器和细水雾喷枪。所述一体化控制箱位于座椅底部,其内部设有灭火剂罐、高压气瓶和各类控制连接阀门。该系统具有探测报警启动,控制终端启动和手动直接启动三种启动方式,通过高压气瓶对灭火剂罐进行加压将灭火剂注入到喷枪来实现细水雾灭火。所述细水雾喷枪除可固定喷射外还可快速拆卸来实现移动灭火操作。该系统减少了冗余设置,精简系统动作环节,节约使用成本,无需占用人员座位,节约了车厢空间,并能大大减少了误启动可能。
