申请号:CN201910484994.1
专利名称:一种缩尺寸地铁隧道/列车车厢双狭长空间火灾实验平台
发明人:程旭东; 从伟; 彭敏; 何坤
专利类型:发明专利
摘要:
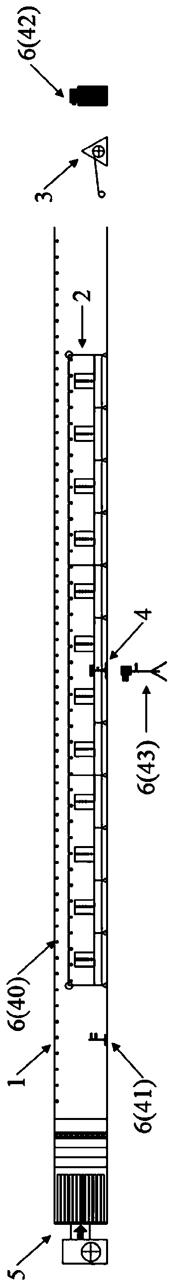
本发明公开了一种缩尺寸地铁隧道/列车车厢双狭长空间火灾实验平台,包括隧道单元、列车单元、轨道单元、火源模拟单元、纵向通风单元、火灾参数测量单元。其中:隧道单元采用弧形顶棚结构,坐落于地面;列车单元放置在隧道单元内,由地面的轨道单元控制其移动;火源模拟单元放置在列车单元内,用于产生实验需要的火羽流;纵向通风单元放置在隧道单元一端,用于提供纵向通风;火灾参数测量单元用于采集实验中的各项参数。本发明克服了全尺寸实验代价高昂和数值模拟不够精确的缺点,可开展地铁隧道内发生列车火灾时的火羽流卷吸特征及烟气输运行为等一系列基础理论的研究,对该火灾场景下的火灾探测、烟气控制和人员疏散具有实际的指导意义。
