申请号:CN201910707684.1
专利名称:一种用于杯式燃烧器的燃料供给装置
发明人:张和平; 邢浩然; 陆松
专利类型:发明专利
摘要:
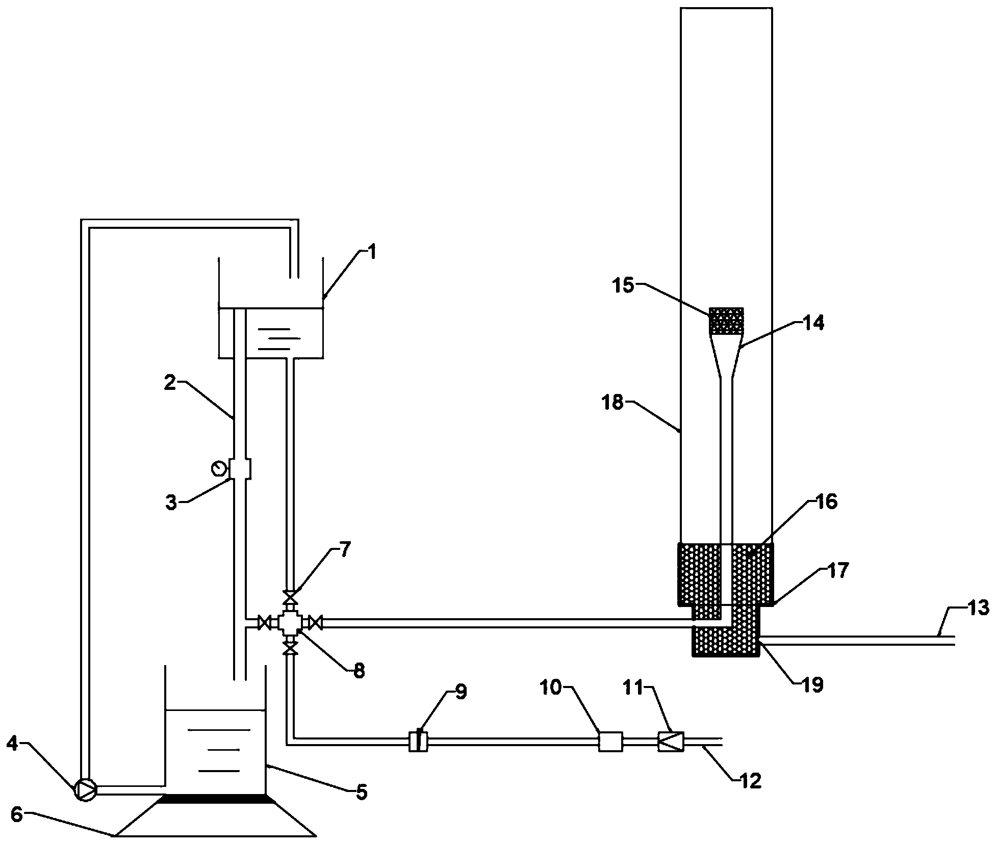
本发明公开了一种用于杯式燃烧器的燃料供给装置,所述装置包括储液容器、溢流管、流量监测计、集液容器、电子天平、泵、四通管件、截止阀、可燃气体供给管线、回火防止器、流量控制器、减压阀、燃烧杯、石英杯罩、整流网、不锈钢底座、玻璃珠、空气与灭火剂供给管线和隔离网。通过此装置,可整合并定量实现对杯式燃烧器不同液体与气体燃料的供给,维持燃烧器杯体中可燃液体液面的稳定,并可得到燃料在燃烧过程中精确的质量损失速率。结构简便可靠,为研究杯式燃烧器火焰燃烧和灭火机理提供技术支撑。
