申请号:CN201910795322.2
专利名称:一种环境风作用下典型建筑倒V形坡屋顶火蔓延实验模拟装置
发明人:熊涵予; 胡隆华; 张晓磊; 任飞; 朱楠
专利类型:发明专利
摘要:
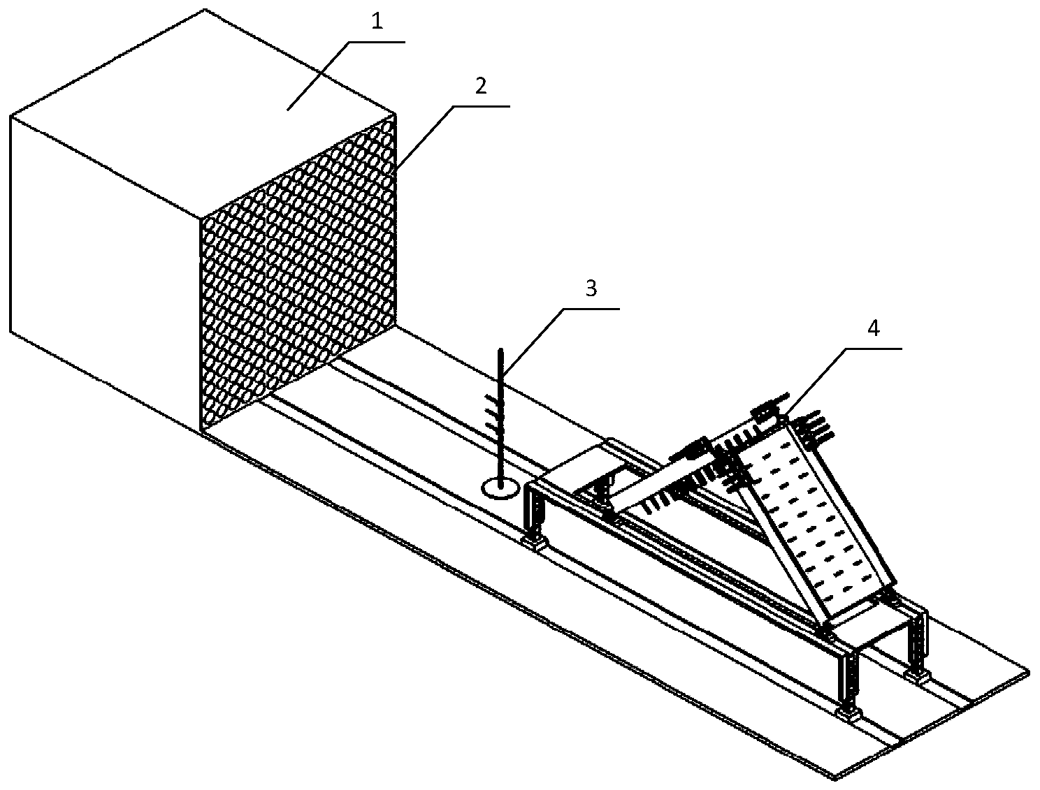
本发明公开了一种环境风作用下典型建筑倒V形坡屋顶火蔓延实验模拟装置,包括供风系统、倒V形坡屋顶模拟实验台和数据采集处理系统。本实验模拟装置是专门针对环境风作用下典型建筑倒V形坡屋顶上表面发生火灾时屋顶角度对屋顶坡面上火焰形态、火焰蔓延速度、火焰热流分布以及火焰从迎风坡向背风坡蔓延判据的影响进行全面系统研究的小尺寸试验台。对于开展实际典型坡屋顶建筑火灾危险性的研究有重要的科学和应用价值,对优化坡屋顶建筑设计以降低其火灾危险性具有指导意义。
