申请号:CN201910061443.4
专利名称:一种用于低温不燃烧烟草的可伸缩外围接触式加热设备
发明人:张和平; 赵军超; 程旭东; 龚伦伦; 陆松
专利类型:发明专利
摘要:
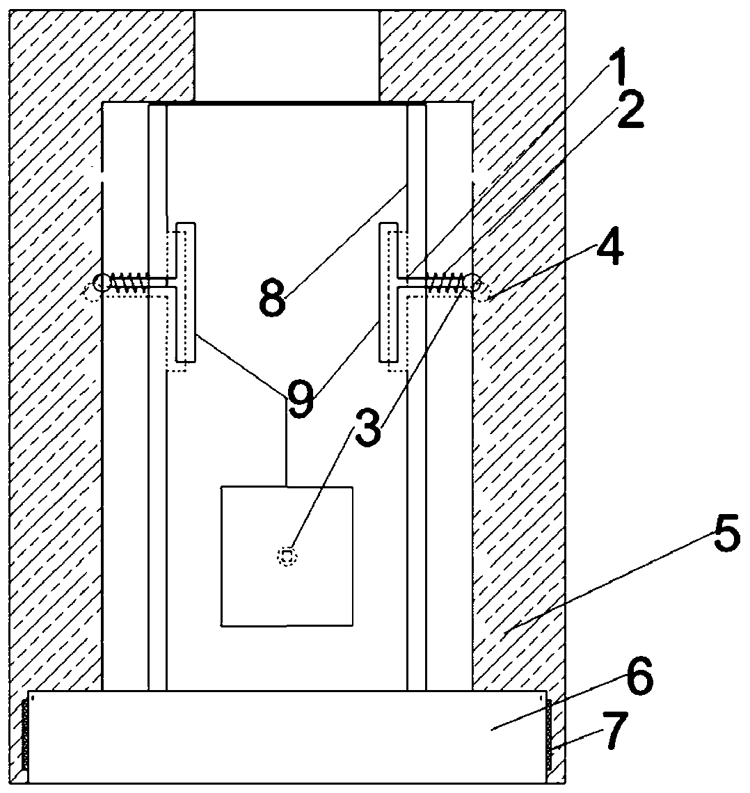
本发明公开了一种用于低温不燃烧烟草的可伸缩外围接触式加热设备,涉及加热设备领域。包括一个中空装置,中空装置内设置有能够放置加热物的加热腔;加热腔包括外隔热层、带有滑动端的棒、区域加热片、弹簧、带有固定圆筒的底座;外隔热层内壁上刻蚀了用于发热棒进行伸缩操作的凹痕,用于调整顶端棒的位置;棒与区域加热片可通过装配成为一整体,位置在烟草外围呈均匀或交错分布;该设备摒弃了目前市场上的针状或片状加热的燃烧不完全以及全包围式加热的耗电量大的问题,采用外围阵列式加热,可以兼具以上两种加热方式的优点。棒可进行伸缩,便于用于低温加热不燃烧烟支的取出;加热设备与电路控制与电源部分可进行分离,可方便加热腔的清理。
