申请号:CN202420671194.7
专利名称:一种基于磁化水的细水雾远程喷射系统
发明人:王喜世; 孙华中; 朱小龙; 胡适; 程凯歌; 张凯; 赵江月; 余佳灵; 王文婕
专利类型:发明专利
摘要:
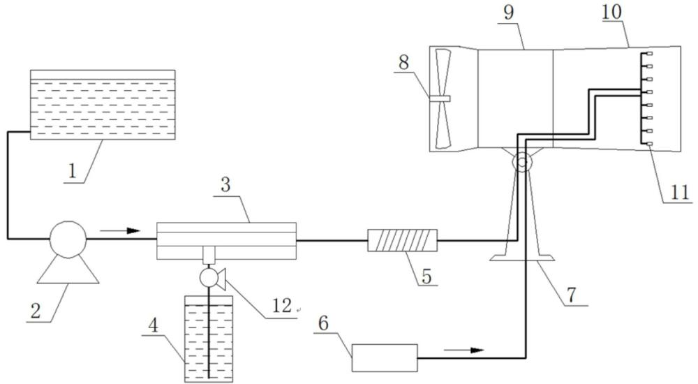
本实用新型涉及一种基于磁化水的细水雾远程喷射系统,一方面轴流风机驱动空气射流经过整流段整流形成高速轴向空气射流;另一方面通过水泵驱动将水通入比例混合器与添加剂混合,混合后通入磁化装置,改变水分子的氢键作用,从而改善雾滴的粘度和表面张力,最后经过布置在风筒混合段的超音速气流雾化喷头喷出;在高速轴向空气射流的助推与保护作用下,混合喷雾不易发生扩散、液滴聚并等情况,实现有效介质的远程喷射并显著降低雾状介质在远距离目标位置的粒径。
