申请号:CN201711473022.X
专利名称:一种飞机发动机舱火灾实验设备
发明人:陆松; 刘长城; 张和平; 赵军超; 陈龙; 杨维华
专利类型:发明专利
摘要:
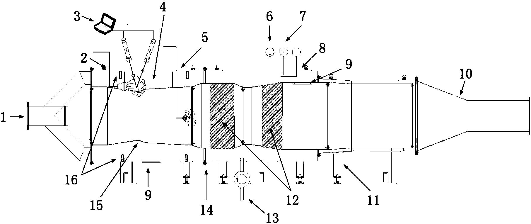
本发明公开了一种飞机发动机舱火灾实验设备,可以开展发动机舱火灾动力学研究的实验,以及开展飞机防火系统的试验验证。该设备包括进气口、舱体、排气口、观察窗、发动机假件、加热组件、发动机舱拥塞件模拟装置、灭火剂浓度测试接口、油池火模块、喷雾火模拟器接口,温度测量模块、气流速度测量模块、压力测量模块、激光流场测量模块和舱体支架。与现有技术相比,本发明可以开展飞机发动机舱火灾动力学研究的实验,能够模拟发动机表面温度对舱体内实验边界条件的影响。
