申请号:CN201810224735.0
专利名称:一种穿透气流可调的粒状活性炭堆垛燃烧性能测试平台
发明人:谢启源; 雷晴晴
专利类型:发明专利
摘要:
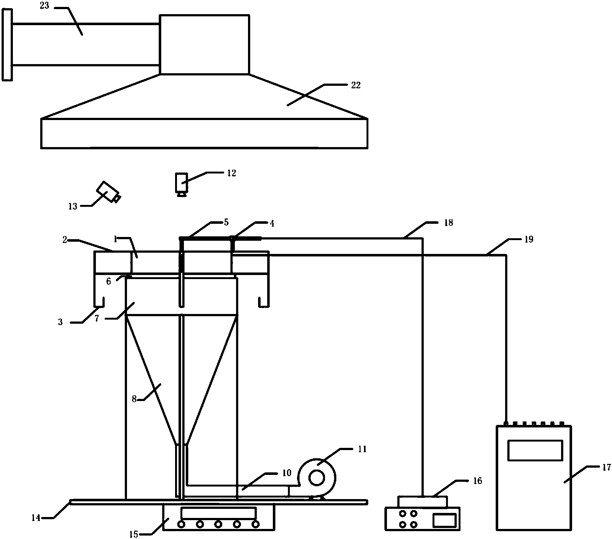
本发明公开了一种穿透气流可调的粒状活性炭堆垛燃烧性能测试平台,包括:一个侧边焊接有若干辅助测量臂的圆柱型反应容器;包含风机、风管、渐扩管的可控通风装置;一个可移动可调压的电加热器;正上方设有一台垂直拍摄的摄像机。该测试平台整体放置于一个绝缘隔热模块之上,绝缘隔热模块下方放置电子天平,测试平台整体上方设置集烟罩。在通风条件下,对粒状活性炭堆垛的引燃与燃烧性能进行测试,获得可燃粒状活性炭堆垛在不同火灾环境下的燃烧性能模型及参数,为活性炭的燃烧性能测试和危险性分级提供依据。
