申请号:CN201810300321.1
专利名称:一种具有顶部开口的受限空间火灾实验模拟装置
发明人:陈潇; 陆守香; 丁智伟
专利类型:发明专利
摘要:
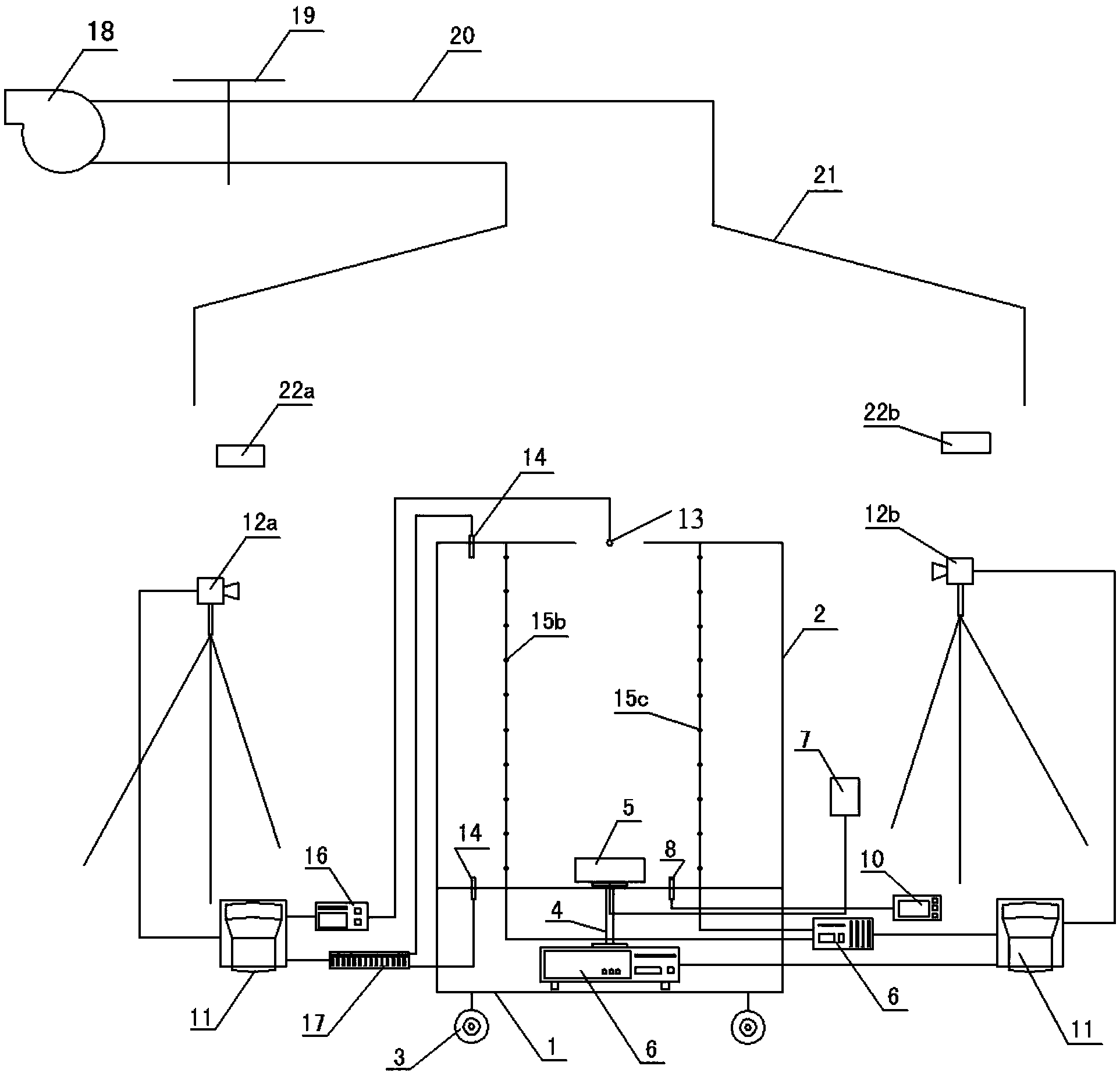
本发明公开了一种具有顶部开口的受限空间火灾实验模拟装置,设置腔室是由腔室支撑架支撑的可拆卸结构,分设为下层腔室和上层腔室,下层腔室为封闭腔,上层腔室为顶部开口腔,上层腔室设置为透明的玻璃侧壁,在腔室在一侧设置为可开启的腔室门;在上层腔室底部中央设置燃料盘;在腔室上方设置排烟系统;在腔室外部设置摄像机以记录烟气流动过程。本发明直接采用池火作为火源,能够模拟真实火灾环境下顶部开口处气体产生的压力;借助于烟气流场显示单元可以完整地模拟顶部开口处的烟气流动状态及流动形式,并能通过玻璃侧壁清晰地监测到整个实验过程和现象;燃料盘与天平分别置于实验装置的上层腔室和下层腔室,测量数据准确可靠。
